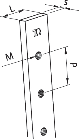
TEKNOMEGA SRL - TKGBRF0990 BARRA RAME 12X2 L1000 FILETTATA M5 P18 - BRF0990

Melden Sie sich an, um Preise und Verfügbarkeit anzuzeigen
Packung
1 ST
EAN
8050503310290
Artikelnummer
TKGBRF0990
Herstellernummer
BRF0990
Hersteller
TKG
Barre filettate in rame, pronte all’uso, nessun impiego di utensili per la foratura, risparmio di tempo nel cablaggio. CARATTERISTICHE TECNICHE: • Barre in rame • Rame elettrolitico Cu-ETP 99,90% • Spigoli arrotondati • resistenza alla trazione : 250 N /mm² • resistività: 0,0172 Ω mm² / m • densità: 8,9 Kg / dm³





